產品列表 / Product list
冷凝結晶切片機的性能及特點
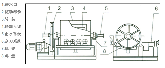
1、進料方式有3種:分上進料、后進料、下進料。針對化工物料的特性,有單轉鼓式和雙轉鼓式。
2、料槽保溫有蒸汽保溫,導熱油循環保溫,電加熱保溫。
3、設備分敞開式及半封閉式,全封閉式,抽真空式,氮氣保護式。
4、刀片材質有,黃銅,磷青銅,尼龍,膠木,合金鋼鋸條。
5、出料系統有單出,雙出等。
6、特殊要求:料的規則形狀與大小,可保證料的片厚及大小均勻度。
7、冷卻或(加熱)系統有分夾套式或噴淋式,按切片機的大小規格及物料的特性來設計,可提高換熱效率及增加轉鼓強度,并提高相對產品的產量。
8、冷卻水采用填料密封或旋轉接頭,能可靠的防止水泄漏,并應用了新的流程,降低了冷卻水的消耗量。
9、轉鼓兩端均有隔熱層及側面刮刀,轉鼓兩端不結料,因而轉鼓兩端沒有摩擦功耗,消除了因端面結料而啟動不穩定的問題。
1、進料方式有3種:分上進料、后進料、下進料。針對化工物料的特性,有單轉鼓式和雙轉鼓式。
2、料槽保溫有蒸汽保溫,導熱油循環保溫,電加熱保溫。
3、設備分敞開式及半封閉式,全封閉式,抽真空式,氮氣保護式。
4、刀片材質有,黃銅,磷青銅,尼龍,膠木,合金鋼鋸條。
5、出料系統有單出,雙出等。
6、特殊要求:料的規則形狀與大小,可保證料的片厚及大小均勻度。
7、冷卻或(加熱)系統有分夾套式或噴淋式,按切片機的大小規格及物料的特性來設計,可提高換熱效率及增加轉鼓強度,并提高相對產品的產量。
8、冷卻水采用填料密封或旋轉接頭,能可靠的防止水泄漏,并應用了新的流程,降低了冷卻水的消耗量。
9、轉鼓兩端均有隔熱層及側面刮刀,轉鼓兩端不結料,因而轉鼓兩端沒有摩擦功耗,消除了因端面結料而啟動不穩定的問題。

設備特點
結晶切片機規格型號
| ※ 性能水平高 | ※ 無級變速,轉鼓轉速可調 |
| ※ 設有側刮刀,避免轉鼓側端積料 | ※ 轉鼓精度高 |
| ※ 設備結構緊湊,占地面積小 | ※ 適應范圍廣,操作簡便、靈活 |
| ※ 半管夾套式料盤,安全可靠 | ※ 采用多組刮刀,調節靈活 |
| ※ 噴淋水冷卻,冷卻效果好 | ※ 多功能,既可結片又可干燥 |
結晶切片機規格型號
|
轉鼓規格 mm |
電機功率 KW |
切片轉速 r/min 變頻控制 |
參考外形尺寸mm | ||
| L | W | H | |||
| 500×500 | 2.2 | 2-12 | 1500 | 600 | 1000 |
| 600×600 | 2.2 | 2-12 | 1600 | 700 | 1200 |
| 700×700 | 2.2-3 | 2-12 | 1700 | 800 | 1400 |
| 800×800 | 3-4 | 2-12 | 1800 | 900 | 1450 |
| 900×900 | 3-4 | 2-12 | 2000 | 1000 | 1550 |
| 1000×1000 | 4-5.5 | 2-12 | 2200 | 1100 | 1700 |
| 1200×1200 | 4-5.5 | 2-12 | 2400 | 1300 | 1900 |
| 1200×1500 | 5.5-7.5 | 2-12 | 2800 | 1300 | 1900 |
| 1500×1500 | 5.5-7.5 | 2-12 | 2800 | 1600 | 2100 |
| 1500×1800 | 7.5-11 | 2-12 | 3100 | 1600 | 2100 |
| 1500×2000 | 7.5-11 | 2-12 | 3300 | 1600 | 2100 |
| 2000×2000 | 11-15KW | 2-12 | 3300 | 2100 | 2500 |
| 1500×3000 | 11-15KW | 2-12 | 4800 | 1600 | 2200 |
| 2000×3000 | 15-21KW | 2-12 | 4800 | 2100 | 2500 |






